
Hydraulikverschraubungen – Präzise & dichte Verbindungen nach Industrie-Standard
Dichte Verbindungen sind entscheidend für sichere Anlagen. Unsere Verschraubungen bieten zuverlässige Dichtigkeit, hohe Druckbeständigkeit und schnelle Verfügbarkeit – inklusive fachkundiger Unterstützung bei Auswahl und Montage.
Wir empfehlen die passende Verschraubung für Druckbereich, Medium und Einbausituation – sicher und normgerecht.
Damit wir Ihnen schnell die passende Lösung anbieten können, füllen Sie bitte die folgenden Felder aus. Unser Team meldet sich zeitnah – verlässlich und persönlich.
Rohrverschraubungen für jeden einsatzzweck
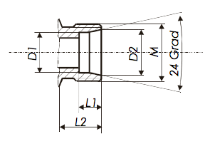
24° Dichtkegel und Bördelverschraubung
Die HANSA‑FLEX Rohrverschraubungen mit 24° Dichtkegel und O-Ring bieten doppelten Schutz vor Leckagen: Neben der Elastomerabdichtung sind die Verschraubungen durch die konische Form des Dichtkegels auch metallisch dichtend.Die HANSA‑FLEX Bördelverschraubungen kommen im Hochdruckbereich bei starken Vibrationen, hohen Druckspitzen und Belastungen zum Einsatz. Verschraubungsseitig erfolgt die Abdichtung durch den O-Ring, rohrseitig durch die Metallflächen zwischen Bördelkegel und Zwischenring.

Drehverschraubungen und Schweißverschraubungen
Drehverschraubungen von HANSA‑FLEX verbinden Schlauchleitungen von einem Festpunkt aus mit drehenden oder schwenkenden Maschinenteilen. Sie verhindern eine Torsion des Schlauchs und beugen so einem vorzeitigen Verschleiß vor. Schweißverschraubungen können direkt an der Anschweißstelle angebracht werden. Der mit einem O-Ring versehene Dichtkonus der HANSA‑FLEX Schweißkegelverschraubungen ist so ausgeformt, dass er genau in das Gegenstück des phosphatierten und geölten Verschraubungsstutzens passt.

Fragen zu rohrverschraubungen?
Hinterlassen Sie Ihre Kontaktdaten. Wir melden uns persönlich und unverbindlich.
Damit wir Ihnen schnell die passende Lösung anbieten können, füllen Sie bitte die folgenden Felder aus. Unser Team meldet sich zeitnah – verlässlich und persönlich.
Kundenbewertungen aus Österreich
Niederlassungssuche
Finden Sie Ihre nächste HANSA-FLEX Niederlassung in Österreich – und nehmen Sie direkt Kontakt mit uns auf.
Für internationale Niederlassungen besuchen Sie bitte unsere globale Seite.
Alfred Fröhlich-Straße 3, 2201 Seyring, Österreich
Robert-Viertl-Straße 5, 8055 Graz, Österreich
Alfred Fröhlich-Straße 3, 2201 Seyring, Österreich
Valiergasse 15, 6020 Innsbruck, Österreich
George-C.-Marshall-Straße 2, 9020 Klagenfurt am Wörthersee, Österreich
Dallingerstraße 19, 4030 Linz, Österreich
Siegfried Theiss-Straße 32, 2700 Wiener Neustadt, Österreich
Wiener Str. 90, 3100 St. Pölten, Österreich
Eferdinger Str. 73, 4600 Wels, Österreich
Baumgasse 62, 1030 Wien, Österreich
Ricoweg 14/2, 2351 Wiener Neudorf, Österreich
Industriezone 61, 6460 Gemeinde Imst, Österreich
Franz-Wolfram-Scherer-Straße 26, 5020 Salzburg, Österreich
Kerpelystraße 14, 8700 Leoben, Österreich
Anton Regner Str. 63a, 8720 Knittelfeld, Österreich
Dieselstraße 9a, 3362 Mauer bei Amstetten, Österreich
Badstubenweg 72, 9500 Villach, Österreich
Sennemahd 6, 6840 Götzis, Österreich
Für internationale Niederlassungen besuchen Sie bitte unsere globale Seite.
ISO-Zertifizierungen & Qualitätsnachweise
Unsere ISO-Zertifizierungen belegen, dass wir höchste Standards in Qualität, Energieeffizienz und Prozesssicherheit erfüllen. Alle Standorte werden regelmäßig von unabhängigen Prüforganisationen wie TÜV NORD auditiert und überwacht. Die Zertifikate bestätigen die normgerechte Arbeitsweise in Entwicklung, Produktion, Service und Fluidtechnik. Für unsere Kunden bedeutet das: verlässliche Abläufe, dokumentierte Qualität und maximale Betriebssicherheit. Hier finden Sie alle gültigen ISO-Nachweise inklusive Geltungsbereich und Standorten.


Original TÜV NORD Zertifikat


Rohre sicher verbinden
Wo hohe Drücke und Sicherheit verlangt werden, kommen HANSA‑FLEX Rohrverschraubungen zum Einsatz.
- Kompatibel mit genormten Verschraubungen anderer Hersteller, DNV GL-zertifiziert und DVGW-geprüft
- Große Schlüsselflächen zum optimalen Gegenhalten der Verschraubung
- Maximale Flexibilität durch Richtungseinstellung
- Zugelassene Betriebsdrücke liegen über den in DIN EN ISO 8434-1 geforderten Druckbereichen
- Hohe Korrosionsbeständigkeit gegenüber Rotrost dank HANSA‑FLEX Zink-Nickel Beschichtung
- Ozonfeste O-Ringe beugen vorzeitigem Bauteilausfall vor
Dicht, zuverlässig und montagefreundlich
Das bieten die HANSA‑FLEX Rohrverschraubungen
- Optimaler Durchfluss
- Geringer Verschleiß
- Einfache Montage
- Höchste Kompatibilität
- Item 1

Die Rohrverschraubungen von HANSA‑FLEX sind so konstruiert, dass sie eine optimale Durchflussrate bieten. Verwirbelungen und damit mögliche Druck- und Leistungsverluste sowie Kavitationen durch auftretende Druckspitzen werden konsequent vermieden. Das erhöht die Lebensdauer jeder einzelnen Komponente im Fluidsystem.
- Sehr gute Durchflussrate
- Optimale Lenkung des Volumenstroms
- Vermeidung von Kavitationen
- Item 1

HANSA‑FLEX setzt neue Maßstäbe beim Korrosionsschutz: Die Oberflächen der Verschraubungskörper, Überwurfmuttern und Schneidringe der Rohrverschraubungen sind standardmäßig mit einer CrVI-freien Zink-Nickel-Beschichtung versehen. Damit ist eine hohe Korrosionsbeständigkeit nach DIN 50979 von bis zu 1.500 h garantiert.
- Aus kaltgezogenem oder geschmiedetem Material
- Oberflächenbeschichtung aus Zink-Nickel
- Weitere Materialien wie Edelstahl oder Messing auf Anfrage
- Item 1

Alle HANSA‑FLEX Verschraubungen verfügen über große Ansatzflächen für Maulschlüssel. So kann bei der Montage die Verschraubung sicher und fest gegenhalten werden. Gleichzeitig ist dank Übermontageschutz und deutlich spürbarem Kraftanstieg höchste Montagesicherheit gegeben.
- Abreißsichere Verbindung durch Mutternbefestigung mit Stift
- Bei Wiederholmontage sicher metallisch- und elastomerdichtend
- Kontrolle bei Montage durch patentierte Schneidringlehre
- Item 1

Die HANSA‑FLEX Rohrverschraubungen verfügen über genormte Einschraubgewinde, sodass sie mit allen gängigen Anschlussgewinden kombiniert werden können. Auch eine Austauschbarkeit mit metrischen Armaturen ist jederzeit gewährleistet, da der rohrseitige Anschluss der HANSA‑FLEX-Schneidringverschraubungen nach DIN 3861, Bohrungsform W bzw. DIN EN ISO 8434-1 genormt ist.
- Metrische, zöllige Einschraubzapfen und-löcher gemäß Normen
- Zylindrische US-Gewindeanschlüsse nach ISO 11926-2/3
- NPT-Gewinde nach ANSI/ASME B1.20.1, SAE J 476
Das HANSA-FLEX rohrverschraubungs-programm
- Breites Produktportfolio an Verschraubungstypen
- Verschraubungen mit Gewindearten nach BSP, BSPT UNF, NPT, JIS, SAE
- Von metallisch über O-Ringe sind verschiedene Dichtfunktionen am Anschluss realisierbar
- Gerade Rohrverschraubungen, Winkelstücke in 45° und 90°, Winkelstücke in T-Form, L-Form und Kreuz-Form
- In verschiedenen Materialauführungen (u.a. Edelstahl, Messing) lieferbar
- Dichtfunktionen für die Einschraubseiten: O-Ringe, Weichdichtung, metallisch und konisch dichtend
- Schneidringverschraubungen mit werksseitig vormontiertem Schneidring lieferbar
FAQs
Rohrverschraubungen sind mechanische Verbindungselemente, die Rohre sicher und dicht miteinander verbinden. Sie werden häufig in Rohrleitungssystemen für Flüssigkeiten und Gase verwendet, um flexible und lösbare Verbindungen zu schaffen.
Es gibt verschiedene Typen von Rohrverschraubungen, darunter:
- Klemmverschraubungen: Nutzen Klemmringe zur Abdichtung.
- Flanschverschraubungen: Bieten eine Verbindung über Flansche und Bolzen.
- Pressverschraubungen: Werden durch Verpressen am Rohr befestigt.
- Gewindeverschraubungen: Verwenden ein Schraubengewinde für die Verbindung.
Die Auswahl hängt ab von:
- Rohrmaterial: Die Verschraubung muss kompatibel mit dem Material des Rohres sein.
- Anwendungsbedingungen: Druck, Temperatur und Medium spielen eine Rolle.
- Rohrdurchmesser: Die Verschraubung muss für den spezifischen Durchmesser geeignet sein.
Wichtige Normen und Standards sind:
- DIN EN 10241: Standards für Gewindefittings aus Stahlguss.
- ISO 8434: Standards für Flanschverschraubungen.
- ASME B16.11: Standards für Schmiedefittings und Gewindefittings.
Für die Installation sollten folgende Schritte beachtet werden:
- Rohr vorbereiten: Das Rohrende muss sauber und frei von Graten sein.
- Dichtmittel verwenden: Bei Gewindeverschraubungen sollte ein geeignetes Dichtmittel oder Dichtband verwendet werden.
- Verschraubung festziehen: Die Verschraubung sollte fest, aber nicht übermäßig angezogen werden, um eine gute Dichtung zu gewährleisten.
Häufige Probleme umfassen:
- Leckagen: Oft verursacht durch unzureichende Dichtung oder Überbeanspruchung.
- Korrosion: Besonders bei unsachgemäßer Materialwahl für die Umgebung.
- Lockern: Durch Vibrationen oder ungenügendes Festziehen der Verschraubung.
Um Probleme zu vermeiden:
- Regelmäßig überprüfen: Inspektionen helfen, frühzeitig Abnutzung oder Schäden zu erkennen.
- Richtige Materialien: Materialien wählen, die für die spezifischen Bedingungen geeignet sind.
- Sorgfältige Installation: Der Montageanleitung des Herstellers folgen und geeignete Werkzeuge verwenden.
Diese themen könnten sie auch interessieren
Umformsystem
Das von HANSA‑FLEX entwickelte Umformsystem HF-Form mit integriertem Übermontageschutz und zwei bzw. drei Dichtzonen vereinfacht die Montage von Rohrsystemen: Verschraubt…
Mehr erfahrenRohrleitungen
Das HANSA‑FLEX Rohrleitungsportfolio umfasst Kompensatoren, Rohrbögen und Sonderarmaturen für Fluid-, Gas- und Kühlwasser. HANSA‑FLEX kann dank modernster Fertigungstechnologien absolute Präzision,…
Mehr erfahrenRohrleitungseinbauventile
Rohrleitungseinbauventile werden direkt im Leitungssystem von Hydraulikanlagen montiert und übernehmen Grundfunktionen wie die Druckbegrenzung oder Regelung des Volumenstroms. Die kompakten…
Mehr erfahren










































